We operate a fleet of late model, Alliance Concrete pumps. With boom pumps ranging from 20 through 41 meters, we are sure to have a pump that will meet your needs. All our equipment is certified as per WCB regulations, and is serviced and maintained by our qualified technicians to ensure maximum reliability and up time. We do our best to give you on time and trouble free service! Scroll down to see the various dimensions and outrigger displacements for each of our boom sizes. Feel free to call with any questions or concerns.
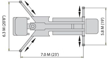
Our 20 meter boom sets up in the tightest of spaces, making short work of hard to access jobs.


-Vertical Reach: 20.0m (65' 7")
-Horizontal Reach 16.2m (53' 2")
-Unfolding Height 3.98m (12" 11")
-Maximum outrigger
footprint displacement 31,500 pounds force
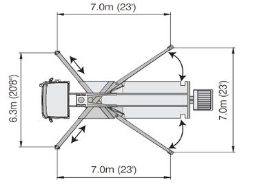
Our 32 Meter Z Boom specializes in working inside existing structures due to its low unfolding height. It also works well under bridge decks, power-lines and many other situations where the operator has to deal with overhead obstructions. Of course, it also works well as a regular 32 Meter. Extremely versatile!


-Vertical Reach: 31.4m (103')
-Horizontal Reach 27.4m (89' 10")
-Reach Over Cab 25m (82')
-Maximum outrigger
footprint displacement 37,093 pounds force
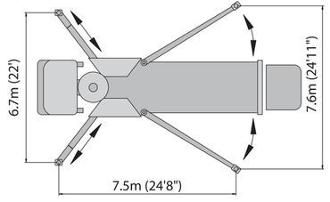
Our 38 Meter roll-fold is a very versatile pump! Known for its ease of operation and ability to perform during routine concrete pumping projects (foundations, floors, etc.), this size excels in both residential and commercial pours.
Our 38 Meter 5 section adds extra versatility when working around powerlines and other overhead obstructions.

-Vertical Reach 37.1m (121'9")
-Horizontal Reach 33.1m (108'7")
-Reach Over Cab 30.6m (100'5")
-Maximum outrigger
footprint displacement 37,093 pounds force
These are the largest pumps we have that sit on three axles, making them able to fit in tight places and yet carry a boom large enough to get some serious work done!


-Vertical Reach 40.5m (132'10")
-Horizontal Reach 36.5m (119'9")
-Reach Over Cab 33.5m (109'11")
-Maximum outrigger
footprint displacement 56,200 lbs
We use cookies to analyze website traffic and optimize your website experience. By accepting our use of cookies, your data will be aggregated with all other user data.